[TC98LH-MOTOR] MOTOR LONCIN TC98LH LC1P90F-1/432CC
Instruções
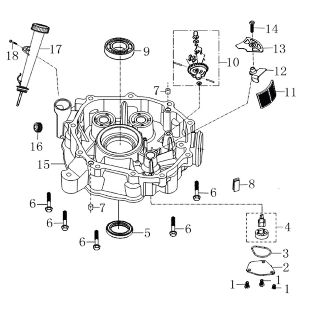
Selecione um quadrante na vista explodida para exibir as peças naquela área. Você pode ampliar para a vista explodida.
A
B
C
1
2
3
A
B
C
1
2
3
A
B
C
1
2
3
A
B
C
1
2
3
A
B
C
1
2
3
A
B
C
1
2
3
A
B
C
1
2
3
A
B
C
1
2
3
A
B
C
1
2
3
A
B
C
1
2
3
A
B
C
1
2
3
A
B
C
1
2
3
CASQUILLO GUIA TORNILLO CULATA LC1P90F-1(432CC) (1)
Ref: TC98LH-M01
Número: 1 (A)
Quadrantes: 1C, 2C
TC98LH-M01
1 (A)
1C, 2C
0,2,0;0,2,1
TC98LH-M02
2 (A)
1C, 2C
0,2,0;0,2,1
TC98LH-M03
3 (A)
2C, 3C
0,2,1;0,2,2
TC98LH-M04
4 (A)
1B, 2B, 2C
0,1,0;0,1,1;0,2,1
TC98LH-M05
7 (A)
2A
0,0,1
TC98LH-M06
8 (A)
2A, 3A
0,0,1;0,0,2
TC98LH-M07
1 (B)
2A
1,0,1
TC98LH-M08
2 (B)
2A
1,0,1
TC98LH-M09
3 (B)
2A
1,0,1
TC98LH-M10
4 (B)
2A
1,0,1
TC98LH-M11
7 (B)
2B
1,1,1
TC98LH-M12
10 (B)
2B, 2C
1,1,1;1,2,1
ARO EMBELLECEDOR TAPA VENTILADOR LC1P90F-1 (432CC) (11)
Ref: TC98LH-M13
Número: 11 (B)
Quadrantes: 1B, 1C
TC98LH-M13
11 (B)
1B, 1C
1,1,0;1,2,0
TC98LH-M14
1 (C)
3C
2,2,2
TC98LH-M16
4 (C)
2A, 2B, 3A
2,0,2;2,0,1;2,1,1
TC98LH-M17
8 (C)
1B, 1C, 2B
2,1,0;2,1,1;2,2,0
TC98LH-M18
9 (C)
2B, 2C
2,1,1;2,2,1
TC98LH-M19
1 (D)
1B, 1C, 2B, 2C
3,1,0;3,2,0;3,1,1;3,2,1
TC98LH-M20
2 (D)
2B
3,1,1
TC98LH-M21
2 (E)
1C, 2C
4,2,0;4,2,1
TC98LH-M22
4 (E)
2B, 2C
4,1,1;4,2,1
TC98LH-M23
8 (E)
2A, 2B
4,0,1;4,1,1
TC98LH-M24
12 (E)
2B, 2C
4,1,1;4,2,1
PALANCA DE ESTRANGULAMIENTO LC1P90F-1 (432CC) (11)
Ref: TC98LH-M25
Número: 11 (E)
Quadrantes: 2A, 2B, 3B
TC98LH-M25
11 (E)
2A, 2B, 3B
4,0,1;4,1,1;4,1,2
TC98LH-M26
9 (E)
2A
4,0,1
TC98LH-M27
1 (F)
2B, 2C, 3B
5,1,1;5,2,1;5,1,2
TC98LH-M28
2 (F)
2C
5,2,1
TC98LH-M29
3 (F)
2B
5,1,1
CHAPA DEFLECTOR CARBUIRADOR LC1P90F-1 (432CC) (4)
Ref: TC98LH-M30
Número: 4 (F)
Quadrantes: 1B, 2A, 2B
TC98LH-M30
4 (F)
1B, 2A, 2B
5,0,1;5,1,1;5,1,0
TC98LH-M31
5 (F)
1A, 2A
5,0,1;5,0,0
TC98LH-M32
6 (F)
1A, 2A
5,0,0;5,0,1
TC98LH-M33
1 (G)
2A, 3A
6,0,1;6,0,2
TC98LH-M35
3 (G)
1A
6,0,0
FILTRO DE AIRE COMPLETO LC1P90F-1 (432CC) (4)
Ref: TC98LH-M36
Número: 4 (G)
Quadrantes: 1A, 1B, 1C, 2A, 2B, 2C, 3A, 3B
TC98LH-M36
4 (G)
1A, 1B, 1C, 2A, 2B, 2C, 3A, 3B
6,0,0;6,1,0;6,2,0;6,0,1;6,1,1;6,2,1;6,0,2;6,1,2
TC98LH-M37
1 (H)
1B, 2B
7,1,0;7,1,1
TC98LH-M38
2 (H)
1B, 2B
7,1,1;7,1,0
TC98LH-M39
3 (H)
1B, 2B
7,1,1;7,1,0
TC98LH-M40
4 (H)
1B, 2B
7,1,1;7,1,0
TC98LH-M41
5 (H)
1A, 2A, 2B
7,0,1;7,0,0;7,1,1
TC98LH-M42
6 (H)
2A
7,0,1
TC98LH-M43
7 (H)
2A, 3A, 3B
7,1,2;7,0,2;7,0,1
TC98LH-M44
8 (H)
2B, 3B
7,1,1;7,1,2
TC98LH-M45
9 (H)
2B
7,1,1
TC98LH-M46
10 (H)
2C
7,2,1
TC98LH-M47
11 (H)
1C, 2C
7,2,1;7,2,0
TC98LH-M48
1 (I)
2A, 3A
8,0,1;8,0,2
TC98LH-M49
2 (I)
2A, 3A
8,0,1;8,0,2
TC98LH-M50
3 (I)
2A
8,0,1
TC98LH-M53
7 (I)
1C, 2C
8,2,1;8,2,0
TC98LH-M54
8 (I)
1C, 2C
8,2,1;8,2,0
TC98LH-M55
9 (I)
2C
8,2,1
TC98LH-M56
10 (I)
2C
8,2,1
TC98LH-M57
11 (I)
2C, 3C
8,2,1;8,2,2
TC98LH-M58
2 (J)
3C
9,2,2
TC98LH-M59
3 (J)
3C
9,2,2
TC98LH-M60
4 (J)
3C
9,2,2
TC98LH-M61
5 (J)
3B
9,1,2
TC98LH-M62
7 (J)
1B, 2A, 3A
9,1,0;9,0,1;9,0,2
TC98LH-M63
8 (J)
2C
9,2,1
TC98LH-M64
10 (J)
1B, 1C
9,1,0;9,2,0
TC98LH-M65
11 (J)
1C, 2C
9,2,0;9,2,1
PLACA PRESION RETENEDOR DE ACEITE LC1P90F-1 (432CC) (12)
Ref: TC98LH-M66
Número: 12 (J)
Quadrantes: 1C
TC98LH-M66
12 (J)
1C
9,2,0
TAPA FILTRO RETENEDOR DE ACEITE LC1P90F-1 (432CC) (13)
Ref: TC98LH-M67
Número: 13 (J)
Quadrantes: 1C
TC98LH-M67
13 (J)
1C
9,2,0
TC98LH-M68
15 (J)
1A, 1B, 2A, 2B
9,0,0;9,1,0;9,0,1;9,1,1
TC98LH-M69
16 (J)
2A
9,0,1
TC98LH-M70
17 (J)
1A, 2A
9,0,0;9,0,1
TC98LH-M71
1 (K)
3C
10,2,2
TC98LH-M72
3 (K)
3C
10,2,2
LEVA REGULADOR MECANICO LC1P90F-1 (432CC) (5)
Ref: TC98LH-M73
Número: 5 (K)
Quadrantes: 2B, 2C, 3B, 3C
TC98LH-M73
5 (K)
2B, 2C, 3B, 3C
10,1,1;10,2,1;10,1,2;10,2,2
TC98LH-M74
6 (K)
2B, 3A, 3B
10,0,2;10,1,2;10,1,1
TC98LH-M75
8 (K)
2B, 3B
10,1,2;10,1,1
TC98LH-M76
11 (K)
1C
10,2,0
TC98LH-M77
12 (K)
1C
10,2,0
TC98LH-M78
13 (K)
1B
10,1,0
TC98LH-M79
14 (K)
1A, 1B
10,0,0;10,1,0
TC98LH-M80
16 (K)
1A
10,0,0
TC98LH-M81
17 (K)
1A, 1B, 2A, 2B, 3A
10,0,0;10,1,0;10,0,1;10,1,1;10,0,2
TC98LH-M82
2 (L)
1B, 1C, 2B
11,1,1;11,1,0;11,2,0
Nenhum item corresponde aos filtros de pesquisa